汽车安全与节能学报 ›› 2021, Vol. 12 ›› Issue (4): 507-515.DOI: 10.3969/j.issn.1674-8484.2021.04.009
收稿日期:2021-05-10
出版日期:2021-12-31
发布日期:2022-01-10
通讯作者:
夏怀成
作者简介:* 夏怀成,教授。E-mail: xiahuaicheng163@sina.com。
WANG Baolin(
), XIA Huaicheng*(
), DONG Qianqian
Received:2021-05-10
Online:2021-12-31
Published:2022-01-10
Contact:
XIA Huaicheng
摘要:
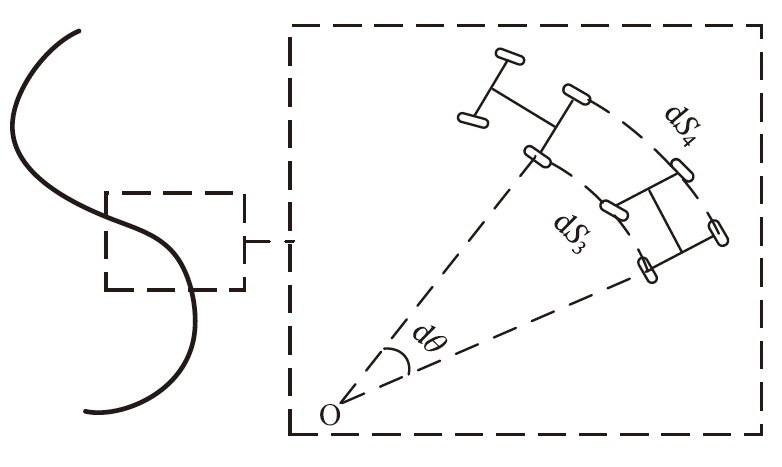
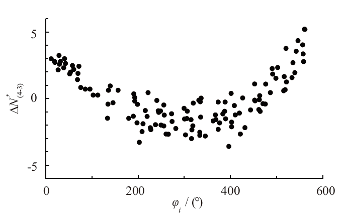
分析了以脉冲法为原理的间接式胎压监测系统在车辆转弯工况下误报警的原因,是将正常胎压下的外侧车轮误判为缺气。利用方向盘转角作为修正参数,建立汽车转弯时的几何关系模型。分析了汽车转弯行驶时轮胎侧偏、车厢侧倾和转向系变形对内外侧车轮脉冲差的影响,提出了利用反向传播(BP)神经网络训练法对转弯工况下的外侧车轮脉冲数进行修正,构建一个3层的BP神经网络,将转弯时的车轮脉冲数等效为直线行驶时的脉冲数。结果表明:BP神经网络训练法对脉冲差拟合的决定因数为0.995,修正后的误报率为0;因此,本修正方法效果良好。
中图分类号:
王宝琳, 夏怀成, 董倩倩. 车辆转弯工况下间接式胎压监测系统脉冲数的修正[J]. 汽车安全与节能学报, 2021, 12(4): 507-515.
WANG Baolin, XIA Huaicheng, DONG Qianqian. Correction for pulse number of indirect tire pressure monitoring system under vehicle turning condition[J]. Journal of Automotive Safety and Energy, 2021, 12(4): 507-515.
| 方向盘转角/(°) | 车速/ (km·h-1) | 标准脉冲数/个 | 原始∆N4/个 | 修正后的标准脉冲数/个 | 修正后∆Nf4/个 | ||||||
|---|---|---|---|---|---|---|---|---|---|---|---|
| N1 | N2 | N3 | N4 | N1’ | N2’ | N3’ | N4’ | ||||
| 10.04 | 6.14 | 100 | 100 | 100 | 100 | 0.00 | 100 | 100 | 100 | 100 | 0.00 |
| 30.05 | 55.50 | 100 | 102 | 100 | 101 | 0.33 | 100 | 101 | 100 | 100 | 0.33 |
| 50.20 | 40.68 | 100 | 103 | 100 | 102 | 1.00 | 100 | 101 | 100 | 100 | 0.33 |
| 70.19 | 31.34 | 100 | 103 | 100 | 103 | 2.00 | 100 | 100 | 100 | 100 | 0.00 |
| 89.74 | 14.62 | 100 | 104 | 100 | 104 | 2.67 | 100 | 100 | 100 | 100 | 0.00 |
| 110.00 | 23.70 | 100 | 106 | 100 | 106 | 4.00 | 100 | 101 | 100 | 101 | 0.67 |
| 130.56 | 18.94 | 100 | 108 | 100 | 106 | 3.33 | 100 | 102 | 100 | 100 | 0.67 |
| 150.22 | 20.21 | 100 | 109 | 100 | 107 | 4.00 | 100 | 101 | 100 | 99 | 1.33 |
| 170.90 | 25.00 | 100 | 110 | 100 | 109 | 5.67 | 100 | 101 | 100 | 100 | 0.33 |
| 189.30 | 10.01 | 101 | 113 | 100 | 110 | 5.33 | 101 | 103 | 100 | 100 | 1.33 |
| 210.03 | 12.45 | 100 | 112 | 100 | 112 | 8.00 | 100 | 100 | 100 | 100 | 0.00 |
| 229.88 | 13.79 | 100 | 114 | 100 | 114 | 9.33 | 100 | 101 | 100 | 101 | 0.67 |
| 249.50 | 10.37 | 100 | 113 | 100 | 114 | 9.67 | 100 | 99 | 100 | 100 | 0.33 |
| 269.85 | 13.10 | 101 | 118 | 100 | 116 | 9.67 | 101 | 102 | 100 | 100 | 1.00 |
| 290.50 | 8.90 | 100 | 118 | 100 | 117 | 11.00 | 100 | 100 | 100 | 99 | 1.00 |
| 311.00 | 14.24 | 101 | 120 | 100 | 118 | 11.00 | 101 | 101 | 100 | 99 | 1.67 |
| 328.86 | 14.95 | 100 | 121 | 100 | 121 | 14.00 | 100 | 100 | 100 | 100 | 0.00 |
| 351.27 | 13.56 | 100 | 123 | 100 | 123 | 15.33 | 100 | 100 | 100 | 100 | 0.00 |
| 370.97 | 14.17 | 100 | 124 | 100 | 124 | 16.00 | 100 | 100 | 100 | 100 | 0.00 |
| 391.32 | 13.70 | 100 | 126 | 100 | 126 | 17.33 | 100 | 100 | 100 | 100 | 0.00 |
| 410.71 | 9.17 | 101 | 128 | 100 | 127 | 17.33 | 101 | 100 | 100 | 99 | 1.33 |
| 429.01 | 17.18 | 100 | 128 | 100 | 129 | 19.67 | 100 | 99 | 100 | 100 | 0.33 |
| 449.70 | 8.46 | 100 | 130 | 100 | 131 | 21.00 | 100 | 98 | 100 | 99 | 0.33 |
| 470.83 | 11.13 | 100 | 132 | 100 | 133 | 22.33 | 100 | 98 | 100 | 99 | 0.33 |
| 490.57 | 11.66 | 101 | 138 | 100 | 137 | 24.00 | 101 | 100 | 100 | 99 | 1.33 |
| 方向盘转角/(°) | 车速/ (km·h-1) | 标准脉冲数/个 | 原始∆N4/个 | 修正后的标准脉冲数/个 | 修正后∆Nf4/个 | ||||||
|---|---|---|---|---|---|---|---|---|---|---|---|
| N1 | N2 | N3 | N4 | N1’ | N2’ | N3’ | N4’ | ||||
| 10.04 | 6.14 | 100 | 100 | 100 | 100 | 0.00 | 100 | 100 | 100 | 100 | 0.00 |
| 30.05 | 55.50 | 100 | 102 | 100 | 101 | 0.33 | 100 | 101 | 100 | 100 | 0.33 |
| 50.20 | 40.68 | 100 | 103 | 100 | 102 | 1.00 | 100 | 101 | 100 | 100 | 0.33 |
| 70.19 | 31.34 | 100 | 103 | 100 | 103 | 2.00 | 100 | 100 | 100 | 100 | 0.00 |
| 89.74 | 14.62 | 100 | 104 | 100 | 104 | 2.67 | 100 | 100 | 100 | 100 | 0.00 |
| 110.00 | 23.70 | 100 | 106 | 100 | 106 | 4.00 | 100 | 101 | 100 | 101 | 0.67 |
| 130.56 | 18.94 | 100 | 108 | 100 | 106 | 3.33 | 100 | 102 | 100 | 100 | 0.67 |
| 150.22 | 20.21 | 100 | 109 | 100 | 107 | 4.00 | 100 | 101 | 100 | 99 | 1.33 |
| 170.90 | 25.00 | 100 | 110 | 100 | 109 | 5.67 | 100 | 101 | 100 | 100 | 0.33 |
| 189.30 | 10.01 | 101 | 113 | 100 | 110 | 5.33 | 101 | 103 | 100 | 100 | 1.33 |
| 210.03 | 12.45 | 100 | 112 | 100 | 112 | 8.00 | 100 | 100 | 100 | 100 | 0.00 |
| 229.88 | 13.79 | 100 | 114 | 100 | 114 | 9.33 | 100 | 101 | 100 | 101 | 0.67 |
| 249.50 | 10.37 | 100 | 113 | 100 | 114 | 9.67 | 100 | 99 | 100 | 100 | 0.33 |
| 269.85 | 13.10 | 101 | 118 | 100 | 116 | 9.67 | 101 | 102 | 100 | 100 | 1.00 |
| 290.50 | 8.90 | 100 | 118 | 100 | 117 | 11.00 | 100 | 100 | 100 | 99 | 1.00 |
| 311.00 | 14.24 | 101 | 120 | 100 | 118 | 11.00 | 101 | 101 | 100 | 99 | 1.67 |
| 328.86 | 14.95 | 100 | 121 | 100 | 121 | 14.00 | 100 | 100 | 100 | 100 | 0.00 |
| 351.27 | 13.56 | 100 | 123 | 100 | 123 | 15.33 | 100 | 100 | 100 | 100 | 0.00 |
| 370.97 | 14.17 | 100 | 124 | 100 | 124 | 16.00 | 100 | 100 | 100 | 100 | 0.00 |
| 391.32 | 13.70 | 100 | 126 | 100 | 126 | 17.33 | 100 | 100 | 100 | 100 | 0.00 |
| 410.71 | 9.17 | 101 | 128 | 100 | 127 | 17.33 | 101 | 100 | 100 | 99 | 1.33 |
| 429.01 | 17.18 | 100 | 128 | 100 | 129 | 19.67 | 100 | 99 | 100 | 100 | 0.33 |
| 449.70 | 8.46 | 100 | 130 | 100 | 131 | 21.00 | 100 | 98 | 100 | 99 | 0.33 |
| 470.83 | 11.13 | 100 | 132 | 100 | 133 | 22.33 | 100 | 98 | 100 | 99 | 0.33 |
| 490.57 | 11.66 | 101 | 138 | 100 | 137 | 24.00 | 101 | 100 | 100 | 99 | 1.33 |
| [1] | 喻凡. 汽车系统动力学[M]. 南京: 机械工业出版社, 2017: 30-34. |
| YU Fan. Vehicle System Dynamics[M]. Nanjing: China Machine Press, 2017: 30-34. (in Chinese) | |
| [2] | 苏博. TPMS法规现状及未来趋势展望[J]. 中国橡胶, 2020, 36(2):23-25. |
| SU Bo. Current situation and future trend of TPMS regulations[J]. China Rubber, 2020, 36(2):23-25. (in Chinese) | |
| [3] | 韩宗奇, 鞠学坤, 王立强, 等. 转弯工况下汽车间接式TPMS监测方法[J]. 机械工程学报, 2011, 47(6):143-149. |
| HAN Zongqi, JU Xuekun, WANG Liqiang, et al. Monitoring method of indirect TPMS in case of running on curving path[J]. J Mech Engineering, 2011, 47(6):43-149. (in Chinese) | |
| [4] | 韩宗奇, 宋健, 苏丹丹, 等. 基于滚动半径法轮胎气压异常报警系统设计[J]. 汽车工程, 2008(08):721-724. |
| HAN Zongqi, SONG Jian, SU Dandan, et al. The design of a tire pressure monitoring and alarming system for vehicles based on tire rolling radius method[J]. Automotive Engineering, 2008(08):721-724. (in Chinese) | |
| [5] | 彭加耕, 王宇岱, 韩宗奇, 等. 高速工况下间接式胎压监测的影响因素研究与优化[J]. 汽车技术, 2020(9):45-51. |
| PENG Jiageng, WANG Yudai, HAN Zongqi, et al. Research and optimization on influencing factors on indirect tire pressure monitoring in high speed driving conditions[J]. Automobile Tech, 2020(9):45-51. (in Chinese) | |
| [6] | 阚一杰. 基于轮速极值统计的间接式TPMS的算法研究[D]. 秦皇岛: 燕山大学, 2015. |
| KAN Yijie. Research on algorithm of indirect TPMS based on statistics of wheel speed extremum[D]. Qinhuangdao: Yanshan University, 2015. (in Chinese) | |
| [7] | 陈平, 许男, 白帆, 等. 对接路面轮胎瞬态侧偏特性研究[J]. 机械工程学报, 2017, 53(22):143-151. |
| CHEN Ping, XU Nan, BAI Fan, et al. Tire transient cornering characteristics on μ-step road[J]. J Mech Engineering, 2017, 53(22):143-151. (in Chinese) | |
| [8] | 彭加耕, 董倩倩, 张宇, 等. 基于BP神经网络的四轮胎压监测算法研究[J]. 现代制造工程, 2021(2):43-48+65. |
| PENG Jiageng, DONG Qianqian, ZHANG Yu, et al. Study on the algorithm of four-wheel tire pressure monitoring based on BP neural network[J]. Modern Manuf Engineering, 2021(2):43-48+65. (in Chinese) | |
| [9] | 余志生. 汽车理论[M]. 北京: 机械工业出版社, 2017: 135-140. |
| YU Zhisheng. Automobile Theory[M]. Beijing: China Machine Press, 2017: 135-140. (in Chinese) | |
| [10] | 郭孔辉. 汽车操纵动力学原理[M]. 南京: 江苏科学技术出版社, 2011: 119-130. |
| GUO Konghui. Principle of vehicle handling dynamics[M]. Nanjing: Jiangsu Science and Technology Press, 2011: 119-130. (in Chinese) | |
| [11] | Susan K, Katie A. Making sense of methods and measurements: simple linear regression[J]. Clinical Simu Nursing, 2020, 48(11):94-95. |
| [12] | 濮文耀, 魏鸣, 李红斌, 等. 线性回归模型的最小二乘法基本假设在Z-I关系拟合中的应用[J]. 气象科学, 2008, 28(6):644-648. |
| PU Wenyao, WEI Ming, LI Hongbin, et al. Application of elementary assumptions of least square method in linear regress model to Z-I relation[J]. J Meteor Sci, 2008, 28(6):644-648. (in Chinese) | |
| [13] |
LI Yuanyuan, LI Jitong, HUANG Jian, et al. Fitting analysis and research of measured data of SAW micro-pressure sensor based on BP neural network[J]. Measurement, 2020, 155:107533-107534.
doi: 10.1016/j.measurement.2020.107533 URL |
| [14] | 王立强, 王斌, 王俊昌, 等. BP神经网络在轮胎气压监测系统自学习匹配中的应用[J]. 汽车技术, 2018(5):20-24. |
| WANG Liqiang, WANG Bin, WANG Junchang, et al. Application of BP neural network in tire pressure monitoring system self-learning matching[J]. Automobile Technology, 2018(5):20-24. (in Chinese) | |
| [15] | 张玘, 谢秀芬, 刘国福, 等. 弹性BP神经网络消除轮速传感器误差方法的研究[J]. 国防科技大学学报, 2008(3):131-135. |
| ZHANG Qi, XIE Xiufen, LIU Guofu, et al. Research on attenuating the wheel speed sensor errors based on resilient BP neural network[J]. J Nat‘l Univ Def Technol, 2008(3):131-135. (in Chinese) |
| [1] | 李海岩, 李广明, 贺丽娟, 冉令华, 吕文乐, 崔世海, 阮世捷. 汽车追尾碰撞中颈部姿态对生物力学响应的影响[J]. 汽车安全与节能学报, 2022, 13(1): 55-62. |
| [2] | 龙永程, 郝海舟, 李凡, 费敬. 行人安全测试现行腿型冲击器的生物逼真度[J]. 汽车安全与节能学报, 2021, 12(4): 475-482. |
| [3] | 徐洪震, 王方, 胡林, 王振, 李凡. 基于事故重建的行人与骑车人头部损伤的差异性[J]. 汽车安全与节能学报, 2021, 12(4): 483-489. |
| [4] | 孙振东, 朱海涛, 彭伟强. AEB制动对THOR 50th假人乘坐姿态影响[J]. 汽车安全与节能学报, 2021, 12(4): 499-506. |
| [5] | 边疆, 王晓颖, 桂良进, 范子杰. 双金属鼓式制动器高温工况的试验与仿真[J]. 汽车安全与节能学报, 2021, 12(2): 173-179. |
| [6] | 李学鋆, 章菊. 考虑路面附着系数和车速的 AFS 可变传动比设计[J]. 汽车安全与节能学报, 2020, 11(3): 329-336. |
| [7] | 吴玉宝,牛卫中,雷云涛. 两辆 SUV 乘用车侧碰耐撞性最差工况的判定[J]. JASE, 2020, 11(1): 79-85. |
| [8] | 黄 杰, 刘 西, 胡远志, 等. 充气式安全带对后排女性乘员的保护效果[J]. 汽车安全与节能学报, 2019, 10(1): 74-81. |
| [9] | 林云成,宋家锋,刘升福,等. 基于竹节结构的保险杠横梁仿生优化及仿真分析[J]. JASE, 2018, 9(4): 410-417. |
| [10] | 荣 芩,吴晓东,许 敏. 基于ISO 标准的道路车辆线控转向系统的功能安全概念设计[J]. JASE, 2018, 9(3): 250-257. |
| [11] | 肖辉鹏,陈 涛,段利斌,等. 基于计算机参数反求的汽车轮胎有限元建模与仿真[J]. JASE, 2018, 9(3): 258-264. |
| [12] | 李卫兵,吴 琼,王翔宇,等. 对开路面汽车紧急制动的稳定性控制[J]. JASE, 2018, 9(3): 272-280. |
| [13] | 张瑞雨,马春生,许述财,等. 有质量差异的两车碰撞时车辆前端刚度的相容性匹配[J]. JASE, 2018, 9(3): 295-302. |
| [14] | 屈 贤,余 烽,赵 悦. 基于熵权灰色关联和 D-S 证据理论的疲劳驾驶险态辨识[J]. JASE, 2018, 9(2): 164-170. |
| [15] | 赵树恩,张 雄. 基于差动制动的车辆侧翻稳定性控制的数字仿真[J]. JASE, 2018, 9(2): 171-177. |
| 阅读次数 | ||||||
|
全文 |
|
|||||
|
摘要 |
|
|||||